Hefei Huayun Machinery Manufacturing Co., Ltd. is a professional enterprise. It mainly produces FSB, FSB-L type fluoroplastic alloy pump, which is suitable for long-term transportation of strong oxidant and organic solvent without solid particles in any concentration under the temperature of - 30 ℃ - 160 ℃. The flow-through parts are all processed by fluoroplastic alloy, which has the advantages of strong corrosion resistance, high mechanical strength, no aging,
no toxin decomposition and so on. Its service life is 3-4 times of that of stainless steel pump.
Users can select the materials listed above according to the requirements of chemical media, but they are not allowed to use the media that react with the above materials.
1.Fluoroplastic alloy, F46 material: with corrosion resistance and wear resistance, high temperature resistance below 120 °, suitable for all kinds of strong acid and alkali corrosive chemical media.
2.Super high polymer polyethylene, F26 material: it is corrosion-resistant and wear-resistant, temperature resistance below 80 ° and suitable for various acid and alkali corrosive chemical media.
Model meaning
80 FS B - 32 L
80:Diameter of suction inlet
FS:The flow-through parts are all processed by fluoroplastic alloy(UHMWPE)
B:Centrifugal pump
32:Head
L :Axial connection (with base plate)
Pump structure
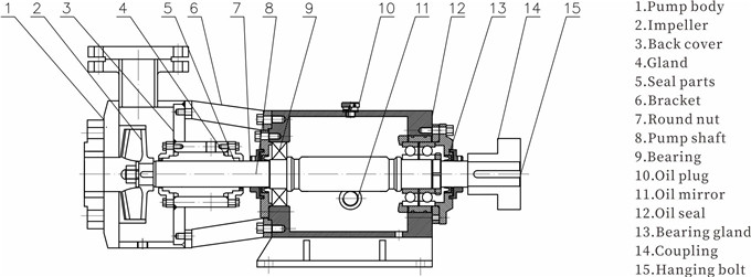
1、FSB-L fluoroplastic reinforced alloy pump is composed of pump body, impeller, back cover, gland, seal parts, bracket, pump shaft, bearing, coupling, hanging bolt, nut and base plate.
2、Pump body: the left and right connecting parts are made of molded plastic alloy, each of which is embedded with a steel flange ring.
3、Back cover: the right side is embedded with stainless steel plate (1Cr18Ni9Ti) made of molded plastic alloy.
4、Impeller: connection method is connecting shaft. The metal shaft is made of high-quality steel and then molded by plastic alloy. The impeller and the metal connecting shaft are firmly integrated to ensure that the shaft root and the back of the impeller bear the torque force when rotating, so that the wetted part of the medium is all plastic alloy.
5、Mechanical seal: it is jointly produced by British Glengarry packing company and domestic manufacturers (WB2 type, ST type). It adopt new adjustable end face seal technology without cooling water.It is made of F50-1, high-purity aluminum trichloride ceramic, filled with tetrafluorocarbon, graphite and other materials.
Working principle
The motor directly connect to pump shaft through the elastic block coupling and drive the impeller to rotate.The root of impeller shaft and pump shaft are penetrated by 12mm bolt through Morse taper,from the center of the pump shaft to the end of the coupling shaft, use the nut to tighten and then rotate.
The blade in the impeller forces the liquid to rotate to work on the liquid, so that its energy increases. The liquid is thrown out around the impeller under the action of centrifugal force.The speed energy is converted into pressure energy through the vortex passage of the pump body. When the liquid in the impeller is thrown out, the pressure in the impeller is lower than the pressure in the water inlet pipe. The new liquid is sucked into the impeller under the action of this pressure difference, and the liquid is continuously flows out of the pump.
Installation and disassembly of FSB-L fluoroplastic corrosion resistant pump
A.Installation dimension of pump:
1、After the pump leaves the factory, the user should adjust the balance before installing the matched motor.The outer circle between coupling and coupling is consistent and can rotate freely. After the water inlet and outlet pipes are installed, the liquid should be connected into the pump room first, and the bracket should be filled with oil until the side oil mirror shows half, and then the pump can be started up after the working process is checked. Otherwise, the machine seal and impeller will be damaged during the operation without liquid.
2、The pump body is made of plastic alloy whose hardness is less then metal.So the pipeline weight cannot be directly pressed on the pump body. The suction pipe should be as short and straight as possible. If the outlet pipe is too heavy, it should be supported by a bracket to extend its service life.
3、All joints must be sealed to prevent air leakage and liquid leakage from affecting the working performance of the pump.
B、 Pump disassembly
1、This series of pumps and motors are connected by claw type couplings. When disassembling, loosen the four connecting bolts between the bracket and the base to separate the pump and the motor.
2、Loosen the connecting bolts of the back cover of the pump body, and tap the pump body with a wooden handle to release it.
3、Loosen the hanging bolt connecting the impeller shaft and the pump shaft with Morse taper in the coupling.
4、Loosen the fixing screw of the mechanical seal dynamic ring, lightly tap hanging bolt in the center of the coupling with a wooden hammer. After the Morse taper of the impeller shaft and the pump shaft is loosened, pull out the impeller, the back cover and the moving ring of the seal, loosen the gland screw on the back cover, and take out the static ring.
5、Loosen the screws for the left and right cover of the pump shaft, take out the pump shaft, bearing and clean the oil chamber of the bracket.
Operation and use of FSB-L fluoroplastic corrosion resistant pump
A. Start and stop
1、Check that the running direction of the motor is consistent with the direction marked by the arrow mark of the pump.
2、Before starting FSB-L pump, check whether the oil level of bracket oil chamber is within the specified range of oil mirror.
3、Fill the pump with enough liquid.(Liquid injection)
4、Close the outlet valve and pressure gauge cock.
5、After the above steps are completed, start the motor and open the pressure gauge cock to see if the pressure gauge needle is in the correct position.
6、Open the vacuum gauge cock and slowly open the outlet valve. The position of the pressure gauge will change with the opening degree of the outlet valve. When the pointer of the pressure gauge points to the required position, stop the adjustment of the size of the outlet valve.
7、When it is necessary to stop, first close the inlet and outlet valves. Cut off the power supply, put on the anti fog clothes, and carefully loosen the nuts of the inlet and outlet pipes to prevent the liquid from splashing out.
B.Operation
1、If vibration or abnormal sound is found during operation, stop the machine immediately to check the cause and eliminate the fault before operation.
C.Assembling
1、Install the fixing bolts on the dynamic ring of the seal, static ring, back cover, gland, impeller, pump body,etc in the reverse order of disassembly.
2、Tighten the bolts between the back cover and the static ring gland. Wipe the end face of the static ring with a soft cleaning cloth and drip lubricating oil.
3、When installing the pump body, check the bolt thread to prevent the internal thread in the pump from being damaged during tightening, and check whether the impeller position is aligned with the flow channel.
4、Install the outlet flange ring.
Use and precautions of FSB-L fluoroplastic corrosion resistant pump mechanical seal
This series of pumps are installed with mechanical seals of different materials according to different usage conditions. The factory normally installs the matched seal of WB2 type (the material is elastic graphite of alumina ceramic and filled with tetranitrogen). Please pay attention to the following points when using:
1、General mechanical seal is applicable to clean medium without suspended hard particles (please inform in advance when signing the contract if there are particles). The newly installed series of pipelines and liquid storage tanks shall be washed carefully to prevent solid impurities from entering the sealing end face, so as to make the seal invalid.
2、For the crystallized medium, when using mechanical seal, pay attention to frequent flushing. After stopping and before restarting, clean the crystal on the end face of the seal.
3、The mechanical seal shall be disassembled carefully. It is not allowed to knock with hammers, irons, etc. to avoid damaging the sealing surface of dynamic and static rings.
4、If the mechanical seal with dirt can not be removed after long-term use, do not knock it forcibly, try to remove the dirt, and then remove it after flushing, so as to ensure that the components are intact.
5、Before installing the mechanical seal, first check whether all elements of the mechanical seal are invalid and damaged, if any, replace or repair them.Strictly check the damage of the sealing surface of the dynamic and static rings, without any slight scratch, edge breakage and defect. All parts (including pump body, impeller, back cover, gland, sealing cavity, etc.) shall be washed before installation, especially the end face of the dynamic and static rings shall be carefully wiped with clean soft cloth or cotton yarn, and then coated with a layer of smooth grease or oil.
6、During assembly, pay attention to the parallelism of the static ring and the back cover, and remove the deviation. When tightening the screws, tighten them on the opposite side or pin them to avoid deflection, so as to prevent the sealing effect from being affected.
7、Correct the compression force of the spring. Make it not too tight or too loose. When installing the pump, first rotate it by hand. You should feel that the sealing function has a certain compression force, and it can rotate freely and easily. If not, adjust the compression force of the spring to ensure the sealing effect.
Possible faults and troubleshooting of fluoroplastics corrosion resistant pump